|
 Product Links 
|
|

Inside SRI

|
| SRI-Newsletter |
 |
Subscribe to our newsletter to receive monthly specials, manufacturer's feature, and electronics news via email. |
|
|
|
See Our latest release of SRI-Newsletter here
|
|
View Our List of Archived Newsletter Articles
|
|

SRI Links

|
|
Visit our Sister Site,
 Distributor of Industrial Products
| |
|
Web Search .. Powered by;
|
|
 |
 |
|
 |
 |
R50 Series
AC and DC Magnetic Latching Industrial Relay for Industrial Controls, Instrumentation
 |
Features
Magnetic LatchingSolder/Plug-In.187" Quick Connect TerminalsSPDT or DPDTDual Coil Version (C-Suffix)Non-Mechanical Latches
|

Electrical Characteristics
Contact
Rating: 10 Amp @ 28VDC/120/240VAC
Rating: 1/3HP @ 120VAC
Rating: 1/2HP @ 240/480/600VAC
Material: 3/16" Silver Cadmium Oxide
Coil
Coil Voltages: See Chart
Pick-up Voltages:
85% of nominal coil vltg. (AC)
75% of nominal coil vltg. (DC)
Resistance: See chart
Duty Cycle: Continuous duty operation at 25% overvoltage
Operational Characteristics
Timing Values:
Operate Time: 15ms Nom, 20ms Max
Release Time: 6ms Nom, 10ms Max
Insulation Characteristics
Dielectric Brteakdown:
>750VAC RMS across open contacts
>2500VAC RMS all other mutally insulated elements
Environmental Characteristics
Operating: -45°C to +60°C
Life
Mechanical: 10 million operations
Weight
Std: 3.0 ozs. (84 grams) approx.
Back to Top

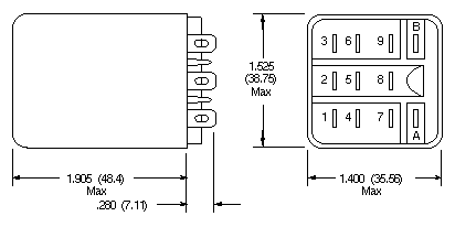
Dimensional Drawings
D50
Contact Arrangment
SPDT (AC), 1 Form "C"
 |
DPDT (AC), 2 Form "C"
 |
DPDT, Dual Coil (DC), 2 Form "C"
 |
SPDT (DC), 1 Form "C"
 |
DPDT (DC), 2 Form "C"
 |
Operational Information
Magnetic latching is achieved by a specially designed magnetic core that makes it possible to maintain a substantial magnetic force of attraction after termination of the electrical pulse that energizes the core. There are no mechanical latches associated with this relay, nor permanent magnets. To restore the relay to its unoperated position, a short pulse of opposite and lower magnitude than the operate pulse is applied to the coil or a second concentric wound coil.
Back to Top

Part Numbers
| AC OPERATED |
| NTE Type No. |
Nom. Voltage |
Contact Arr. |
Coil Res. Latch/ Unlatch Ohms (Typ) |
Nom. Power |
Max. Contact Cur. @ 28VDC or 120VAC |
Diag. No. |
| R50-5A10-120 |
120VAC |
SPDT |
2090/17430 |
1.7VA |
10A |
D50 |
| R50-11A10-120 |
120VAC |
DPDT |
2090/17430 |
1.7VA |
10A |
D50 |
| DC OPERATED |
| R50-5D10-24 |
24VDC |
SPDT |
472/1152 |
1.2W |
10A |
D50 |
| R50-11D10-12 |
12VDC |
DPDT |
120/275 |
1.2W |
10A |
D50 |
| R50-11D10-12C |
12VDC |
DPDT |
88/275 |
1.2W |
10A |
D50 |
| R50-11D10-24 |
24VDC |
DPDT |
472/1152 |
1.2W |
10A |
D50 |
| R50-11D10-24C |
24VDC |
DPDT |
330/1070 |
1.2W |
10A |
D50 |
Back to Top
|
**Specifications subject to changes**
[Go to Search] [Back]
|
|
|
|